适用年级:{{getGradeNameByProperty('初三|中考模拟|江苏|2017年')}} 试卷类型:{{getTestPaperTypeName('初三|中考模拟|江苏|2017年')}} 使用省份:{{getAreaName('初三|中考模拟|江苏|2017年')}}
试卷年份:{{getYear('初三|中考模拟|江苏|2017年')}}上传日期:2017-09-28题数:30
提示:单击题文可显示答案与解析。
题号:1173179
题型:选择题
难易度:较易
日期:2016-08-08
来源:江苏省句容市行香中学2017届九年级5月调研物理试题
【题文】“小荷才露尖尖角,早有蜻蜓立上头”。现有一蜻蜓立于距水面0.6m处的荷尖上,池中水深2m,则蜻蜓在水中的像距水面
题号:4766423
题型:选择题
难易度:较易
日期:2017-07-28
来源:江苏省句容市行香中学2017届九年级5月调研物理试题
【题文】电磁波不仅方便了我们的生活,而且改变了我们的生活.以下实例不是应用电磁波的是
| A.汽车倒车雷达 | B.收音机收听节目 |
| C.微波炉加热食物 | D.WiFi无线网络 |
题号:4766427
题型:选择题
难易度:一般
日期:2017-07-28
来源:江苏省句容市行香中学2017届九年级5月调研物理试题
【题文】下列是小明用学过的物理知识解释的生活现象,正确的是
| A.护士用注射器向病人注射药液是利用了大气压的作用 |
| B.游泳时手和脚向后划水,使人前进,说明力的作用是相互的 |
| C.司机在驾驶汽车时必须系上安全带,这是为了减少司机的惯性,防止事故发生 |
| D.人必须站在安全线以外等候列车,因为人与行驶的列车之间的空气流速大,压强大 |
题号:4766431
题型:选择题
难易度:较易
日期:2017-07-28
来源:江苏省句容市行香中学2017届九年级5月调研物理试题
【题文】塑料袋属于非晶体.高压输电线路上飘挂的塑料袋会影响输电安全,供电部门利用“激光炮”向塑料袋发射激光,使塑料袋熔化,达到清除目的.下列说法错误的是
| A.塑料袋熔化过程中温度不变 | B.塑料袋熔化过程中内能增加 |
| C.激光在空气中沿直线传播 | D.激光在空气中传播的速度约为3×105km/s |
题号:4766433
题型:选择题
难易度:较易
日期:2017-07-28
来源:江苏省句容市行香中学2017届九年级5月调研物理试题
【题文】初中男生经过变声期后,声带变长、变宽,说话时声音变得浑厚低沉.变声期后的男生说话时,下列对其声带振动的分析,正确的是
题号:4932735
题型:选择题
难易度:较易
日期:2017-09-28
来源:江苏省句容市行香中学2017届九年级5月调研物理试题
【题文】生长在泰国的巨暹罗鲤,是现存鲤科鱼类中体积最大的品种.如图所示的巨型暹罗鲤鱼长约为2m,质量约为120kg,则其体积大约为

| A.0.012m3 | B.0.12m3 |
| C.12m3 | D.120m3 |
题号:4932736
题型:选择题
难易度:一般
日期:2017-09-28
来源:江苏省句容市行香中学2017届九年级5月调研物理试题
【题文】如图所示,某同学用推力
F推一质量为
m的木块,使其始终静止在竖直墙面上.下列说法正确的是

| A.推力越大,木块受到的摩擦力越大 |
| B.墙面越粗糙,木块所受的摩擦力越大 |
| C.木块的质量越大,其受到的摩擦力越大 |
| D.木块始终静止的原因是推力与木块的重力是一对平衡力 |
题号:4932737
题型:选择题
难易度:较易
日期:2017-09-28
来源:江苏省句容市行香中学2017届九年级5月调研物理试题
【题文】在综合实践活动中,小明做了一个能自动回转的“魔罐”,如图甲所示.他将小铁块绑在橡皮筋中部,让橡皮筋穿入铁罐,两端分别固定在罐盖和罐底上,如图乙所示.实验装置做好后让它从不太陡的斜面上滚下,发现橡皮筋被铁块卷紧了,接着铁罐居然能从斜面底部自动滚上去.以下有关能量转化的判断,正确的是

| A.铁罐在斜面上从最高处滚到最低处,主要是重力势能转化为动能 |
| B.铁罐在斜面上从最高处滚到最低处,主要是弹性势能转化为动能 |
| C.铁罐在斜面上从最低处滚到最高处,主要是动能转化为重力势能 |
| D.铁罐在斜面上从最低处滚到最高处,主要是弹性势能转化为重力势能 |
题号:4932739
题型:选择题
难易度:较易
日期:2017-09-28
来源:江苏省句容市行香中学2017届九年级5月调研物理试题
【题文】如图所示的家庭电路中,闭合开关后灯泡不亮,用测电笔检测插座的两孔,发现只有插入右孔时氖管才发光.用测电笔检测
a点氖管不发光,检测
b点氖管发光.发生这一现象的原因可能是

| A.灯泡短路 |
| B.灯丝断了 |
| C.开关接触不良 |
| D.插座短路 |
题号:4932740
题型:选择题
难易度:较易
日期:2017-09-28
来源:江苏省句容市行香中学2017届九年级5月调研物理试题
【题文】不久前,日本一项清理太空垃圾的试验性任务宣告失败.其核心方案是,通过一条700m长的电线,给高速飞行的太空垃圾通电,利用地球的磁场,使其减速后坠落于大气层燃烧殆尽.该方案能使太空垃圾减速的原因是
| A.电磁感应现象 | B.电流的热效应 |
| C.磁场对电流的作用 | D.通电可使太空垃圾的重力变大 |
题号:4932741
题型:选择题
难易度:较易
日期:2017-09-28
来源:江苏省句容市行香中学2017届九年级5月调研物理试题
【题文】芬兰奥卢大学的研究团队研发出一种新型钙钛矿材料,该材料可在光照、温度变化、压力变化的情况下产生电能,有着广阔的应用前景.该材料不能直接实现的能量转化是
| A.光能→电能 | B.内能→电能 | C.机械能→电能 | D.化学能→电能 |
题号:4932743
题型:选择题
难易度:一般
日期:2017-09-28
来源:江苏省句容市行香中学2017届九年级5月调研物理试题
【题文】家用电吹风主要由带扇叶的电动机和电热丝组成,为了保证电吹风的安全使用,要求:电吹风不吹风时,电热丝不能发热;电热丝不发热时,电吹风仍能吹风.下列电路中符合要求的是
题号:4932744
题型:选择题
难易度:一般
日期:2017-09-28
来源:江苏省句容市行香中学2017届九年级5月调研物理试题
【题文】小王同学做“改变物体的浮沉状态”的实验.他将一个小木块和一个带盖的小玻璃瓶放入水中,木块和玻璃瓶都漂浮在水面上.他再将木块和玻璃瓶都捞出,把木块装入玻璃瓶后盖好瓶盖,再投入水中,玻璃瓶将
| A.一定漂浮在水面 | B.一定悬浮在水中 | C.一定沉入水底 | D.都有可能 |
题号:4932745
题型:选择题
难易度:一般
日期:2017-09-28
来源:江苏省句容市行香中学2017届九年级5月调研物理试题
【题文】小明用如图所示的装置探究杠杆的机械效率,
O为支点.他先将钩码悬挂在
b点,在
a点竖直向上匀速拉动弹簧测力计,拉力为
F1,
a点上升的高度为
h.然后他将钩码移至
c点,仍在
a点竖直向上匀速拉动弹簧测力计,拉力为
F2,
a点上升的高度仍为
h.两次拉动杠杆所做的总功分别是
W总1、
W总2,有用功分别是
W有1、
W有2,机械效率分别是
η1、
η2,以下分析正确的是

| A.F1> F2 | B.W总1> W总2 | C.W有1=W有2 | D.η1<η2 |
题号:4932746
题型:选择题
难易度:一般
日期:2017-09-28
来源:江苏省句容市行香中学2017届九年级5月调研物理试题
【题文】在综合实践活动课上,小明把一只用半导体材料制成的电阻
Rx与滑动变阻器
R串联接在电压恒为6V的电路中,如图甲所示.闭合开关,滑动变阻器的滑片
P由
a端向
b端移动的过程中,电流表和电压表示数变化情况如图乙所示,针对该实验过程,下列结果正确的是

| A.Rx是定值电阻,其阻值为6Ω |
| B.电路消耗的最小功率为0.6W |
| C.滑动变阻器的最大阻值为50Ω |
| D.当P从a端移向b端时,Rx的阻值变大 |
题号:4932753
题型:实验题
难易度:一般
日期:2017-09-28
来源:江苏省句容市行香中学2017届九年级5月调研物理试题
【题文】如图是研究电流一定时,导体消耗的电功率与电阻关系的实验装置.为方便比较导体产生的热量,实验中对甲、乙两个烧瓶中所加煤油的要求是______;甲、乙两个烧瓶中的电阻丝阻值不同,将它们串联起来接入电路的目的是为了_______.小明通过实验得出:电阻越大,导体消耗的电功率越大.小华指出他的结论不严密,请你将小明的实验结论补充完整:_______.

题号:4932754
题型:实验题
难易度:较易
日期:2017-09-28
来源:江苏省句容市行香中学2017届九年级5月调研物理试题
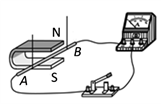
【题文】在探究产生感应电流的条件时,小明采用了如图所示的实验装置.闭合开关后,小明左右移动金属棒
AB,均未发现电流表的指针发生偏转.经检查,全部实验器材均无故障且连接无误.电流表指针不偏转的原因可能是什么?请你写出一条猜想:______.针对你的猜想,请写出检验猜想是否正确的方法:________.

题号:4932759
题型:实验题
难易度:一般
日期:2017-09-28
来源:江苏省句容市行香中学2017届九年级5月调研物理试题
【题文】实验小组的同学用如图所示的装置来探究“近视眼的缺陷”.他们用蜡烛代表眼睛观察的物体, 用凸透镜代表眼球的晶状体,用光屏代表视网膜.为判断近视眼不戴眼镜时物体成的像在视网膜前还是视网膜后,小明提出如下实验方案:
先不给凸透镜戴眼镜,让烛焰在光屏上成像,然后给凸透镜戴上眼镜,移动光屏,再次让烛焰在光屏上成像,比较两次像距的大小.
实验时,要注意调节烛焰、凸透镜、光屏的高度,使它们的中心大致在______,这样做的目的是_______.

下表是小明通过实验测得的数据:

小组同学通过分析认为,第________次数据是无效的,原因是________.
分析表格中的数据,我们发现,
v1_______(>/=/<)
v2,所以近视眼镜的作用是使像______(远离/靠近)晶状体.那么近视眼不戴眼镜时,物体通过晶状体所成的像落在视网膜的______(前/后)方.
小华进一步思考后提出另一实验方案:
先给凸透镜戴上眼镜,让烛焰在光屏上成像,然后取下眼镜,再让烛焰在光屏上成像,比较两次像距的大小.
你认为小华的实验方案_______(可行/不可行).
题号:4932760
题型:实验题
难易度:一般
日期:2017-09-28
来源:江苏省句容市行香中学2017届九年级5月调研物理试题
【题文】小明用如图甲所示的装置来探究“弹簧的伸长跟拉力的关系”.弹簧的一端固定在木板上,他先在木板上标上0~7.00cm的刻度.把木板竖直放置,在弹簧下端挂钩码(每个钩码的质量为50g).实验数据记录如下表.


⑴ 当挂三个钩码时,指针所对刻度如图乙,请在表中填写此时弹簧的长度和弹簧的伸长量.
⑵ 分析表中弹簧的伸长跟拉力的数据,你能得到的结论是____.
⑶ 小明想用该装置设计一个直接测量液体密度的“密度秤”,他找来一个质量为100g的小桶,挂在弹簧下面的挂钩上,测量时,在桶中加满待测液体,根据指针指示的刻度,就能直接读出液体的密度.
① 该“密度秤”的零刻度线应在______cm刻度处.
② 在桶中加满水,指针指在4cm刻度处,如图丙,则该小桶的容积是______cm
3.
③ 该“密度秤”能测量的最大的密度是______g/cm
3.
④ 利用现有的长度刻度线作为该“密度秤”的刻度线,则该“密度秤”的分度值是______g/cm
3.
⑤ 小明想增大该“密度秤”的量程,在不更换弹簧的前提下,你的办法是____(只要一种即可).
题号:4766415
题型:填空题
难易度:较易
日期:2017-07-28
来源:江苏省句容市行香中学2017届九年级5月调研物理试题
【题文】乘出租车时,小华的手刚接触车门就被“电”了一下,这常常是因为汽车在行驶过程中与空气_______而带电,与小华发生了放电现象.有拖地铁链的汽车,不易发生这种现象,这是利用铁的________性好,把产生的电导入地下.
题号:4932747
题型:填空题
难易度:较易
日期:2017-09-28
来源:江苏省句容市行香中学2017届九年级5月调研物理试题
【题文】电冰箱里的食物容易相互“串味”,食物“串味”的原因是____.当打开冰箱门时,往往会看到冷冻室的侧壁上有很多霜,这是水蒸气____(选填物态变化名称)形成的,这个过程中水蒸气____(吸收/放出)热量.
题号:4932748
题型:填空题
难易度:较易
日期:2017-09-28
来源:江苏省句容市行香中学2017届九年级5月调研物理试题
【题文】收割季节,少数农民喜欢把稻谷放在公路上晾晒,给交通带来了安全隐患.汽车在铺有稻谷的马路上行驶,汽车本身的惯性将______(变大/变小/不变),与正常的公路相比,汽车刹车时受到的摩擦力将______(变大/变小/不变).
题号:4932749
题型:填空题
难易度:较易
日期:2017-09-28
来源:江苏省句容市行香中学2017届九年级5月调研物理试题
【题文】如图所示,用两手指水平压住铅笔的两端.铅笔静止时,两手指对铅笔的压力是______(平衡力/相互作用力).用力压时,两个手指的感觉不同,说明在压力一定时,压力的作用效果跟______有关.

题号:4932751
题型:填空题
难易度:较易
日期:2017-09-28
来源:江苏省句容市行香中学2017届九年级5月调研物理试题
【题文】汽车发动机常用循环流动的水来帮助它散热,主要是利用了水的______较大的特点,在这个过程中是通过______的方式使水的温度升高,内能增大;若汽车水箱中装有6kg水,当温度升高50℃时需要吸收_______J的热量.【c水=4.2×103J/(kg•℃)】
题号:4932752
题型:填空题
难易度:较易
日期:2017-09-28
来源:江苏省句容市行香中学2017届九年级5月调研物理试题
【题文】电鳗是鱼类中放电能力最强的淡水鱼类,它的发电器位于身体两侧的肌肉内,每个肌肉薄片像一个小电池,能产生约0.15V的电压,近万个这样的小电池______(串联/并联)起来,就可以产生很高的电压.电鳗在放电时,将________能转化为电能.曾经有电鳗一次放电产生500V的电压,并形成2A的电流,则该电鳗此次的放电功率达到______W.
题号:4932756
题型:综合题
难易度:一般
日期:2017-09-28
来源:江苏省句容市行香中学2017届九年级5月调研物理试题
【题文】小明有一辆捷安特自行车,质量为12kg.星期天,小明到西太湖骑自行车健身,他在2h内匀速骑行了36km,小明的质量为58kg,骑车时受到的阻力是车和人总重的0.03倍.(g=10N/kg)
⑴ 这段时间内,他克服阻力做功的功率为多少?
⑵ 若人体消耗的能量中有30%用于驱动自行车前进,则整个过程人消耗的能量为多少?
题号:4932757
题型:综合题
难易度:一般
日期:2017-09-28
来源:江苏省句容市行香中学2017届九年级5月调研物理试题
【题文】学校的走廊、消防通道内部都安装有应急照明灯,某款应急照明灯的外形如图甲所示.在照明电源正常的情况下,应急照明灯通过充电器给蓄电池充电,此时自动控制电路及相关部件自动将灯泡与蓄电池断开,LED灯不发光.当照明电路突然停电时,应急照明灯通过自动控制电路及相关部件自动把2只LED灯跟蓄电池接通,实现自动应急照明.

⑴ 右表为该应急照明灯的主要参数,图乙是该应急照明灯工作原理示意图,请用笔画线代替导线,完成电路图.(充电器给蓄电池充电时充电电流必须从蓄电池正极流入,负极流出.)

⑵ 断电后,应急照明灯正常发光时,通过其中1只LED灯的电流是多少?
⑶ 蓄电池规格为“2.4V 1.8Ah”,其中“1.8Ah”是指当工作电流为1.8A,电池能持续正常供电1h,蓄电池充满电后,最长可以连续应急照明多少时间?
题号:4932758
题型:综合题
难易度:一般
日期:2017-09-28
来源:江苏省句容市行香中学2017届九年级5月调研物理试题
【题文】半潜船是通过压水舱的吸水和排水,实现其上浮和半潜(甲板潜入水中).现有一艘质量为4×10
4t的半潜船,前去执行运输一艘受损船舶的任务.(
ρ海水≈1.0×10
3kg/m
3,
g=10N/kg)

⑴ 如图甲所示,当该半潜船不装货物,且压水舱不吸水时,受到的浮力有多大?
⑵ 当压水舱吸水,半潜船下沉,实现半潜,如图乙所示.将受损船舶移动到半潜船甲板上方后,半潜船通过排水上浮,当压水舱剩余海水的体积达到3×10
3m
3时,半潜船浸入海水中的体积为5×10
4m
3,这时甲板已完全露出水面,如图丙所示,则其运输的船舶质量是多少?
题号:1250603
题型:作图题
难易度:一般
日期:2016-05-13
来源:江苏省句容市行香中学2017届九年级5月调研物理试题
【题文】将一平面镜斜放在装有水的水槽中,有一束光线垂直射向水面,如上面右图所示,请画出这束光线在水中行进最后射出水面的光路图。

题号:4932755
题型:作图题
难易度:较易
日期:2017-09-28
来源:江苏省句容市行香中学2017届九年级5月调研物理试题
【题文】为方便夜间开锁,有人发明了“感应照孔门把手”,只有夜间且有人摸门把手时,锁孔旁的LED灯才亮.它利用感应开关S
1(有人摸把手,S
1闭合;无人摸把手,S
1断开)以及光敏开关S
2(白天,S
2断开;夜间,S
2闭合)控制电路,达到目的.请完成电路连接.
