适用年级:{{getGradeNameByProperty('初三|中考模拟|安徽|2016年')}} 试卷类型:{{getTestPaperTypeName('初三|中考模拟|安徽|2016年')}} 使用省份:{{getAreaName('初三|中考模拟|安徽|2016年')}}
试卷年份:{{getYear('初三|中考模拟|安徽|2016年')}}上传日期:2016-06-08题数:23
提示:单击题文可显示答案与解析。
题号:1246613
题型:选择题
难易度:一般
日期:2016-06-08
来源:2016届安徽省阜阳市颍泉区九年级中考模拟物理试卷(带解析)
【题文】如图所示电路,电源电压保持不变,闭合开关S,滑动变阻器滑片P向右移动.下列有关这一过程的分析错误的是( )

| A.由于电路的总电阻增加,因而电流表的示数减小 |
| B.由于电路中电流减小,根据U2=IR2计算得出,电压表V2的示数减小 |
| C.串联电路中,由于R2变大,R2的分压变大,因而电压表V2示数增大 |
| D.由于电路中电流减小,根据U1=IR1计算得出, R1两端电压减小,而电源的电压是恒定的;再根据U2=U-U1知,电压表V2的示数变大 |
题号:1246624
题型:选择题
难易度:较难
日期:2016-06-08
来源:2016届安徽省阜阳市颍泉区九年级中考模拟物理试卷(带解析)
【题文】如图所示,小明在做模拟“蹦极”的小实验,一根橡皮筋一端系一个小石块,另一端固定在A点,B点是橡皮筋系小石块自然下垂时下端所在的位置,C点是小石块从A点自由释放后所能达到的最低点,关于小石块从A点到C点运动过程中,说法正确的是( )

| A.小石块减少的重力势能全部转化为动能 |
| B.从A点下落到B点的过程中,小石块受到重力和弹力的作用 |
| C.从B点下落到C点的过程中,小石块的速度先增大后减小 |
| D.小石块在C点时,受到平衡力的作用 |
题号:1246625
题型:选择题
难易度:一般
日期:2016-06-08
来源:2016届安徽省阜阳市颍泉区九年级中考模拟物理试卷(带解析)
【题文】要想一次量出密度为0.8×10
3kg/m
3,质量为100g的酒精的体积,有下面四个选项可供选用,选哪种量筒测量比较合适?( )
| A.量程为50ml,最小刻度为ml |
| B.量程为100ml,最小刻度为2ml |
| C.量程为1000ml,最小刻度为10ml |
| D.量程为250ml,最小刻度为5ml |
题号:1246626
题型:选择题
难易度:一般
日期:2016-06-08
来源:2016届安徽省阜阳市颍泉区九年级中考模拟物理试卷(带解析)
【题文】如下图是关于电磁现象的四个实验,下列说法正确的是

| A.图甲实验是研究同种电荷相互排斥 |
| B.图乙实验是研究通电导线周围存在磁场 |
| C.图丙实验是研究电磁感应现象 |
| D.图丁实验是研究电动机的原理 |
题号:1246627
题型:选择题
难易度:一般
日期:2016-06-08
来源:2016届安徽省阜阳市颍泉区九年级中考模拟物理试卷(带解析)
【题文】关于温度、热量和内能,下列说法正确的是( )
| A.O℃的冰内能为零 |
| B.两个物体温度相同,它们之间就不能发生热传递 |
| C.物体温度越高,所含热量越多 |
| D.物体吸收了热量,温度一定升高 |
题号:1246628
题型:选择题
难易度:一般
日期:2016-06-08
来源:2016届安徽省阜阳市颍泉区九年级中考模拟物理试卷(带解析)
【题文】研究阻力对物体运动影响的实验装置,自A点自由滑下的小车运动到C点时停了下来,当小车滑到B点时所受的力的示意图正确的是( )

题号:1246629
题型:选择题
难易度:一般
日期:2016-06-08
来源:2016届安徽省阜阳市颍泉区九年级中考模拟物理试卷(带解析)
【题文】请你根据所学的物理知识对下列认识做出判断,其中正确的是( )

| A.甲图中若停止蹬车,自行车会慢慢停下来,是因为自行车不再受到力的作用 |
| B.乙图中鸡蛋碰石头,鸡蛋破裂,其中石头对鸡蛋的力等于鸡蛋对石头的力 |
| C.载重汽车装有很多轮子是为了减小载重汽车对地面的压力 |
| D.家庭电路中洗衣机、冰箱等家用电器使用三脚插头可以省电 |
题号:1246541
题型:实验题
难易度:一般
日期:2016-06-08
来源:2016届安徽省阜阳市颍泉区九年级中考模拟物理试卷(带解析)
【题文】用电压表和电流表可以测未知导体R的电阻值,图(a)、图(b)均为测量方案的原理图.

(1)某次采用图(a)的测量方案进行实验时,电压表和电流表的读数如图(c)所示,电流表的读数为____________A,则电阻的测量值R=____________.
(2)由于电流表和电压表都有电阻,采用两种测量方案都会给测量结果带来影响,导致测量出现误差。如果采用图(b)的测量方案测量导体R的电阻值,测量结果将__
__(选填“大于”、“等于”或“小于”)电阻的实际值,其理由是
题号:1246542
题型:实验题
难易度:一般
日期:2016-06-08
来源:2016届安徽省阜阳市颍泉区九年级中考模拟物理试卷(带解析)
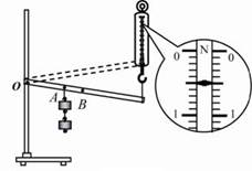
【题文】用如图所示的实验装置测量 杠杆的机械效率.实验时,竖直向上匀速拉动弹簧测 力计,使挂在较长杠杆下面的钩码缓缓上升.

(1)实验中,将杠杆拉至图中虚线位置,测力计的示 数F为______N,钩码总重G为1.0N,钩码上升高度h为0.1m,测力计移动距离s为0.3m,则杠杆的机械效率为______%.
(2)为了进一步研究杠杆的机械效率与哪些因素有关,一位同学用该实验装置,先后将钩码挂在A、B两点,测量并计算得到下表所示的两组数据:
次数
| 钩码悬挂点
| 钩码总重G/N
| 钩码移动距离h/m
| 拉力F/N
| 测力计移动距离s/m
| 机械效率η/%
|
1
| A点
| 1.5
| 0.10
| 0.7
| 0.30
| 71.4
|
2
| B点
| 2.0
| 0.15
| 1.2
| 0.30
| 83.3
|
根据表中数据,能否得出“杠杆的机械效率与所挂钩码的重有关,钩码越重其效率越高”的结论?答:___________;
请简要说明两条理由:
①_____________________________
②_____________________________
题号:1246543
题型:实验题
难易度:一般
日期:2016-06-08
来源:2016届安徽省阜阳市颍泉区九年级中考模拟物理试卷(带解析)
【题文】在“研究凸透镜成像规律”时,将凸透镜、蜡烛和光屏放在如图甲所示的光具座上进行(凸透镜的焦距,已知):

(1)若在甲图中C位置上放置光屏,则B位置上应放置______;
(2)若烛焰在光屏上所成的像如图乙所示,为使像能清晰地呈在光屏中央,应将凸透镜向______移动(选填“上”或“下”);根据此图的成像特点可制成____________
(3)实验发现:当物距在______范围时,像都能在光屏上承接;当物距在______范围时,凸透镜成缩小的像.
(4)在乙图情形中,像已清晰地呈在光屏中央,若在AB之间放置一个近视眼镜,则须向______移动光屏可使屏上的像清晰.
题号:1246630
题型:填空题
难易度:一般
日期:2016-06-08
来源:2016届安徽省阜阳市颍泉区九年级中考模拟物理试卷(带解析)
【题文】现有两个灯泡L1、L2,分别标有“10V 10W” 和“9V 5.4W”的字样.当将它们串联使用时,电路两端允许加的最大电压是_____V;当将他们并联使用时,干路允许通过的最大电流是_____A.
题号:1246631
题型:填空题
难易度:一般
日期:2016-06-08
来源:2016届安徽省阜阳市颍泉区九年级中考模拟物理试卷(带解析)
【题文】密度为0.6×10
3kg/m
3、边长为10cm的正方体匀质木块,静止在液体的表面上时(如图),刚好有一半的体积露出液面,则正方体木块受到的浮力为_________N.[来

题号:1246632
题型:填空题
难易度:一般
日期:2016-06-08
来源:2016届安徽省阜阳市颍泉区九年级中考模拟物理试卷(带解析)
【题文】有两个电阻R1=2R2,R2=3Ω,若把它们并联接在电路中,R1和R2消耗的电功率之比是P1:P2=_________.
题号:1246633
题型:填空题
难易度:较难
日期:2016-06-08
来源:2016届安徽省阜阳市颍泉区九年级中考模拟物理试卷(带解析)
【题文】用如图所示的滑轮将一重物匀速提升了0.1m,弹簧测力计的示数为2.5N,滑轮的机械效率为80%,则弹簧测力计的拉力做的功是_________J,被提升的重物为_________N(不计绳重和摩擦).

题号:1246634
题型:填空题
难易度:一般
日期:2016-06-08
来源:2016届安徽省阜阳市颍泉区九年级中考模拟物理试卷(带解析)
【题文】吸烟有害健康,吸“二手烟”危害更大,因此公共场所通常有“禁止吸烟”的标志。在空气不流通的房间内,只要有一个人吸烟,整个房间就会充满烟味,造成其他人吸“二手烟”。这是由于分子_________的结果。
题号:1246635
题型:填空题
难易度:一般
日期:2016-06-08
来源:2016届安徽省阜阳市颍泉区九年级中考模拟物理试卷(带解析)
【题文】夏天暴雨后,有时天空会出现美丽的彩虹,它是光的_________形成的。(选填“折射和反射”、“反射”或“折射”).
题号:1246636
题型:填空题
难易度:一般
日期:2016-06-08
来源:2016届安徽省阜阳市颍泉区九年级中考模拟物理试卷(带解析)
【题文】如图为麻省理工大学教授课堂演示情景,教授将一个摆球从下巴处放手,结果摆球摆回时并没有砸到他的下巴,这是因为摆球在摆动过程中部分的机械能因为和空气摩擦转化为
能而导致摆球的机械能减少。

题号:1246637
题型:填空题
难易度:一般
日期:2016-06-08
来源:2016届安徽省阜阳市颍泉区九年级中考模拟物理试卷(带解析)
【题文】商杭高铁获得国家发改委批复立项,这也意味着安徽阜阳没有高铁的日子即将宣告结束,而 阜阳市民通往省城合肥的时间也会大大缩短。阜阳到合肥约为225公里,若以初期时速为300公里运营,这也就意味着阜阳到合肥__________分钟就可以到达。

题号:1246638
题型:填空题
难易度:一般
日期:2016-06-08
来源:2016届安徽省阜阳市颍泉区九年级中考模拟物理试卷(带解析)
【题文】美丽的安徽地跨长江、淮河南北,境内湖泊众多,河网纵横交错,水不仅构成了安徽最重要的自然景观元素,而且起到调节气候的作用,这是利用了水______,同时水汽化时要__________ (选填“吸收”或“放出”)热量。
题号:1246639
题型:填空题
难易度:一般
日期:2016-06-08
来源:2016届安徽省阜阳市颍泉区九年级中考模拟物理试卷(带解析)
【题文】音乐课上,全班唱同一首歌!阿牛说“这么高的音我唱不上去”,阿顿说“这么低的音我唱不出来”.这里所说的“高”、“低”是指__________.
题号:1246538
题型:计算题
难易度:较难
日期:2016-06-08
来源:2016届安徽省阜阳市颍泉区九年级中考模拟物理试卷(带解析)
【题文】如图所示为我省夥县境内的一段盘山公路.以汽油为燃料的旅游下沿该盘山公路以36km/h的速度匀速行驶,经过20min从山脚到达山上目的地。已知汽油完全燃烧释放的能量可以转化为旅游车做功的效率只有30%,旅游车上山时的牵引力恒为10
4N,汽油热值g=4.6×107j/kg.

求:(1)旅游车上山时牵引力做功的功率为多大?
(2)旅游车从山脚到目的地消耗的汽油是多少千克?(保留一位小数)
题号:1246539
题型:计算题
难易度:较难
日期:2016-06-08
来源:2016届安徽省阜阳市颍泉区九年级中考模拟物理试卷(带解析)
【题文】电热饮水机有加热和保温两种工作状态(由机内温控开关s。自动控制),从说明书上收集到如下数据及右图所示的电路原理图。

(1)求电阻R
2的阻值。
(2)求电热饮水机在加热状态下的工作电流。(保留一位小数)
(3)电热饮水机在加热状态下的1min消耗的电能。
题号:1246540
题型:综合题
难易度:较难
日期:2016-06-08
来源:2016届安徽省阜阳市颍泉区九年级中考模拟物理试卷(带解析)
【题文】如图所示,用力F将重为G的物体匀速拉上高为h,斜边长为s的斜面,物体与斜面之间的摩擦力为f,很多同学都认为,物体匀速上升的过程中,拉力F与摩擦力f是一对平衡力,试根据有用功、额外功和总功之间的关系,推导证明:f=F一Gh/s.
