适用年级:{{getGradeNameByProperty('高三|高考模拟|黑龙江|2011年')}} 试卷类型:{{getTestPaperTypeName('高三|高考模拟|黑龙江|2011年')}} 使用省份:{{getAreaName('高三|高考模拟|黑龙江|2011年')}}
试卷年份:{{getYear('高三|高考模拟|黑龙江|2011年')}}上传日期:2011-06-03题数:24
提示:单击题文可显示答案与解析。
题号:1144251
题型:选择题
难易度:一般
日期:2011-06-03
来源:2011届黑龙江省大庆实验中学高三高考仿真模拟试题文数
【题文】函数

的图象经过四个象限,则实数

的取值范围是( )
题号:1144252
题型:选择题
难易度:一般
日期:2011-06-03
来源:2011届黑龙江省大庆实验中学高三高考仿真模拟试题文数
【题文】设

与

是定义在同一区间[a,b]上的两个函数,若对任意

∈[a,b],都有

成立,则称

和

在[a,b]上是“亲密函数”,区间[a,b]称为“亲密区间”.若

与

在[a,b]上是“亲密函数”,则其“亲密区间”可以是
| A.[0,2] | B.[0,1] | C.[1,2] | D.[-1,0] |
题号:1144253
题型:选择题
难易度:一般
日期:2011-06-03
来源:2011届黑龙江省大庆实验中学高三高考仿真模拟试题文数
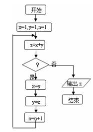
【题文】计算机执行右边程序框图设计的程序语言后,输出的数据是55,则判断框内应填( )

题号:1144254
题型:选择题
难易度:一般
日期:2011-06-03
来源:2011届黑龙江省大庆实验中学高三高考仿真模拟试题文数
题号:1144255
题型:选择题
难易度:一般
日期:2011-06-03
来源:2011届黑龙江省大庆实验中学高三高考仿真模拟试题文数
【题文】已知直线

,有下面四个命题:
(1)

; (2)

;
(3)

; (4)

.
其中正确的命题是( )
| A.(1)与(2) | B.(1) 与 (3) | C.(2) 与 (4) | D.(3) 与 (4) |
题号:1144256
题型:选择题
难易度:一般
日期:2011-06-03
来源:2011届黑龙江省大庆实验中学高三高考仿真模拟试题文数
题号:1144257
题型:选择题
难易度:一般
日期:2011-06-03
来源:2011届黑龙江省大庆实验中学高三高考仿真模拟试题文数
题号:1144258
题型:选择题
难易度:一般
日期:2011-06-03
来源:2011届黑龙江省大庆实验中学高三高考仿真模拟试题文数
【题文】复数

的实部和虚部相等,则实数

等于( )
| A.-1 | B. | C. | D.1 |
题号:1144259
题型:选择题
难易度:一般
日期:2011-06-03
来源:2011届黑龙江省大庆实验中学高三高考仿真模拟试题文数
【题文】已知三个集合

及元素间的关系如图所示,则

= ( )

题号:4209343
题型:选择题
难易度:一般
日期:2012-05-25
来源:2011届黑龙江省大庆实验中学高三高考仿真模拟试题文数
【题文】
空间几何体的三视图如图2所示, 该几何体的
体积为

,则正视图中x的值为

题号:4209344
题型:选择题
难易度:一般
日期:2013-09-17
来源:2011届黑龙江省大庆实验中学高三高考仿真模拟试题文数
【题文】某服装加工厂某月生产A、B、C三种产品共4000件,为了保证产品质量,进行抽样检验,根据分层抽样的结果,企业统计员制作了如下的统计表格:
产品类别
| A
| B
| C
|
产品数量(件)
|
| 2300
|
|
样本容量(件)
|
| 230
|
|
由于不小心,表格中A、C产品的有关数据已被污染看不清楚,统计员记得A产品的样本容量比C产品的样本容量多10,根据以上信息,可得C的产品数量是( )
A. 80 B. 800 C.90 D.900
题号:4209345
题型:选择题
难易度:一般
日期:2012-05-14
来源:2011届黑龙江省大庆实验中学高三高考仿真模拟试题文数
题号:1144248
题型:填空题
难易度:一般
日期:2011-06-03
来源:2011届黑龙江省大庆实验中学高三高考仿真模拟试题文数
【题文】对于各数互不相等的整数数组

(

是不小于3的正整数),对于任意的

,当

时有

,则称

,

是该数组的一个“逆序”,一个数组中所有“逆序”的个数称为该数组的“逆序数”,如数组(2,4,3,1)中的逆序数等于4,若数组

中的逆序数为

,则数组

中的逆序数为
.
题号:1144249
题型:填空题
难易度:一般
日期:2011-06-03
来源:2011届黑龙江省大庆实验中学高三高考仿真模拟试题文数
【题文】不等式组

所表示的平面区域为

,若

、

为

内的任意两个点,则|

|的最大值为
题号:1144250
题型:填空题
难易度:一般
日期:2011-06-03
来源:2011届黑龙江省大庆实验中学高三高考仿真模拟试题文数
【题文】
函数

的图象如图所示,
则

=
.
题号:4209346
题型:填空题
难易度:一般
日期:2011-06-03
来源:2011届黑龙江省大庆实验中学高三高考仿真模拟试题文数
【题文】投掷两颗骰子,得到其向上的点数分别为

,设

,则满足

的概率为____
题号:1144241
题型:解答题
难易度:一般
日期:2011-06-03
来源:2011届黑龙江省大庆实验中学高三高考仿真模拟试题文数
【题文】24.选修4-5:不等式选讲
若关于

的方程

=0有实根
(1)求实数

的取值集合

(2)若存在

,使得不等式

成立,求实数

的取值范围。
题号:1144242
题型:解答题
难易度:一般
日期:2011-06-03
来源:2011届黑龙江省大庆实验中学高三高考仿真模拟试题文数
【题文】.选修4—4:坐标系与参数方程
以平面直角坐标系

的原点

为极点,

轴的正半轴为极轴建立极坐标系,直线

的极坐标方程为

,曲线

的参数方程为

(1)若把曲线

上的横坐标缩短为原来的

,纵坐标不变,得到曲线

,
求曲线

在直角坐标系下的方程
(2)在第(1)问的条件下,判断曲线

与直线

的位置关系,并说明理由;
题号:1144243
题型:解答题
难易度:一般
日期:2011-06-03
来源:2011届黑龙江省大庆实验中学高三高考仿真模拟试题文数
【题文】.已知函数

(Ⅰ)若

,求函数

的单调区间;
(Ⅱ)若函数

在

上单调递增,求实数

的取值范围
(Ⅲ)记函数

,若

的最小值是

,求函数

的解析式
题号:1144244
题型:解答题
难易度:一般
日期:2011-06-03
来源:2011届黑龙江省大庆实验中学高三高考仿真模拟试题文数
【题文】已知椭圆

的对称轴为坐标轴,一个焦点为

,点

在椭圆

上
(Ⅰ)求椭圆

的谢方程
(Ⅱ)已知直线

:

与椭圆

交于

两点,求

的面积
(Ⅲ)设

为椭圆

上一点,若

,求

点的坐标
题号:1144245
题型:解答题
难易度:一般
日期:2011-06-03
来源:2011届黑龙江省大庆实验中学高三高考仿真模拟试题文数
【题文】(本小题共12分)如图所示,

平面

,

平面

,

,

,

,

为

的中点.
(Ⅰ)求证:

平面

;
(Ⅱ)求证:平面

平面

.
(Ⅲ)求凸多面体

的体积为

题号:1144246
题型:解答题
难易度:一般
日期:2011-06-03
来源:2011届黑龙江省大庆实验中学高三高考仿真模拟试题文数
【题文】某中学的高二(1)班男同学有

名,女同学有

名,老师按照分层抽样的方法组建了一个

人的课外兴趣小组.
(Ⅰ)求某同学被抽到的概率及课外兴趣小组中男、女同学的人数;
(Ⅱ)经过一个月的学习、讨论,这个兴趣小组决定选出两名同学做某项实验,方法是先从小组里选出

名同学做实验,该同学做完后,再从小组内剩下的同学中选一名同学做实验,求选出的两名同学中恰有一名女同学的概率;
(Ⅲ)试验结束后,第一次做试验的同学得到的试验数据为

,第二次做试验的同学得到的试验数据为

,请问哪位同学的实验更稳定?并说明理由.
题号:1144247
题型:解答题
难易度:一般
日期:2011-06-03
来源:2011届黑龙江省大庆实验中学高三高考仿真模拟试题文数
【题文】(本小题满分12分)已知

三点的坐标分别是


,

,其中

,且

.
(Ⅰ)求角

的值;(Ⅱ)当

时,求函数

的最大值和最小值.
题号:4209347
题型:解答题
难易度:一般
日期:2011-06-03
来源:2011届黑龙江省大庆实验中学高三高考仿真模拟试题文数
【题文】22.选修4-1:几何证明选讲

如图:四边形

是边长为

的正方形,以

为圆心,

为半径的圆弧与以

为直径的圆

交于点

,连接

并延长

交于

点

(1)求证:

是

的中点
(2)求线段

的长