适用年级:{{getGradeNameByProperty('高三|高考模拟|山东|2015年')}} 试卷类型:{{getTestPaperTypeName('高三|高考模拟|山东|2015年')}} 使用省份:{{getAreaName('高三|高考模拟|山东|2015年')}}
试卷年份:{{getYear('高三|高考模拟|山东|2015年')}}上传日期:2015-04-22题数:21
提示:单击题文可显示答案与解析。
题号:842646
题型:选择题
难易度:较难
日期:2015-04-22
来源:2015届山东省文登市高三第二次统考理科数学试卷(带解析)
【题文】已知

是

内的一点(不含边界),且


,若

的面积分别为

,记

,则

的最小值为
题号:842647
题型:选择题
难易度:一般
日期:2015-04-22
来源:2015届山东省文登市高三第二次统考理科数学试卷(带解析)
【题文】若实数

满足的约束条件

,将一颗骰子投掷两次得到的点数分别为

,则函数

在点

处取得最大值的概率为
题号:842648
题型:选择题
难易度:较易
日期:2015-04-22
来源:2015届山东省文登市高三第二次统考理科数学试卷(带解析)
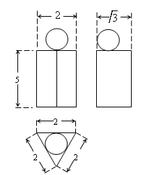
【题文】下图为一个几何体的三视图,尺寸如图所示,则该几何体的体积为

题号:842649
题型:选择题
难易度:一般
日期:2015-04-22
来源:2015届山东省文登市高三第二次统考理科数学试卷(带解析)
题号:842650
题型:选择题
难易度:较易
日期:2015-04-22
来源:2015届山东省文登市高三第二次统考理科数学试卷(带解析)
【题文】定义:

,若函数

,将其图象向左平移

个单位长度后,所得到的图象关于

轴对称,则

的最小值是
题号:842651
题型:选择题
难易度:一般
日期:2015-04-22
来源:2015届山东省文登市高三第二次统考理科数学试卷(带解析)
【题文】已知双曲线

的一条渐近线与直线

垂直,则双曲线的离心率等于
题号:842672
题型:选择题
难易度:较易
日期:2015-04-22
来源:2015届山东省文登市高三第二次统考理科数学试卷(带解析)
【题文】设

是两个实数,命题“

中至少有一个数大于

”成立的充分不必要条件是
题号:842673
题型:选择题
难易度:较易
日期:2015-04-22
来源:2015届山东省文登市高三第二次统考理科数学试卷(带解析)
题号:842674
题型:选择题
难易度:较易
日期:2015-04-22
来源:2015届山东省文登市高三第二次统考理科数学试卷(带解析)
题号:3489198
题型:选择题
难易度:较易
日期:2015-04-22
来源:2015届山东省文登市高三第二次统考理科数学试卷(带解析)
【题文】右边程序框图中,若输入

,

,则输出

的值分别是

题号:842641
题型:填空题
难易度:一般
日期:2015-04-22
来源:2015届山东省文登市高三第二次统考理科数学试卷(带解析)
【题文】抛物线

的焦点为

,点

为抛物线上的动点,点

为其准线上的动点,当

为等边三角形时,则

的外接圆的方程为
.
题号:842642
题型:填空题
难易度:较难
日期:2015-04-22
来源:2015届山东省文登市高三第二次统考理科数学试卷(带解析)
【题文】已知函数

满足

,且

是偶函数,当

时,

,若在区间

内,函数

有

个零点,则实数

的取值范围是
.
题号:842643
题型:填空题
难易度:一般
日期:2015-04-22
来源:2015届山东省文登市高三第二次统考理科数学试卷(带解析)
【题文】对大于

的自然数

的三次幂可用奇数进行以下方式的“分裂”

仿此,若

的“分裂”数中有一个是

,则

的值为
.
题号:842644
题型:填空题
难易度:较易
日期:2015-04-22
来源:2015届山东省文登市高三第二次统考理科数学试卷(带解析)
【题文】采用系统抽样方法从

人中抽取

人做问卷调查,为此将他们随机编号为

,分组后在第一组采用简单随机抽样的方法抽得的号码为

,抽到的

人中,编号落入区间

的人做问卷

,编号落入区间

的人做问卷

,编号落入区间

的人做问卷

,则抽到的人中,做问卷

的人数为
.
题号:842645
题型:填空题
难易度:较易
日期:2015-04-22
来源:2015届山东省文登市高三第二次统考理科数学试卷(带解析)
题号:842635
题型:解答题
难易度:较难
日期:2015-04-22
来源:2015届山东省文登市高三第二次统考理科数学试卷(带解析)
【题文】(本小题满分14分)在

中,

的坐标分别是

,点

是

的重心,

轴上一点

满足

,且

.
(1)求

的顶点

的轨迹

的方程;
(2)直线

与轨迹

相交于

两点,若在轨迹

上存在点

,使四边形

为平行四边形(其中

为坐标原点),求

的取值范围.
题号:842636
题型:解答题
难易度:较难
日期:2015-04-22
来源:2015届山东省文登市高三第二次统考理科数学试卷(带解析)
【题文】(本小题满分13分)已知函数

.
(1)当

时,求曲线

在

处的切线方程;
(2)设函数

,求函数

的单调区间;
(3)若

,在

上存在一点

,使得

成立,求

的取值范围.
题号:842637
题型:解答题
难易度:一般
日期:2015-04-22
来源:2015届山东省文登市高三第二次统考理科数学试卷(带解析)
【题文】(本小题满分12分)如图,在

中,已知


在

上,且

又

平面

.

(1)求证:

⊥平面

;
(2)求二面角

的余弦值.
题号:842638
题型:解答题
难易度:一般
日期:2015-04-22
来源:2015届山东省文登市高三第二次统考理科数学试卷(带解析)
【题文】(本小题满分12分)甲乙两人进行围棋比赛,约定先连胜两局者直接赢得比赛,若赛完

局仍未出现连胜,则判定获胜局数多者赢得比赛.假设每局甲获胜的概率为

,乙获胜的概率为

,各局比赛结果相互独立.
(1)求甲在

局以内(含

局)赢得比赛的概率;
(2)记

为比赛决出胜负时的总局数,求

的分布列和期望.
题号:842639
题型:解答题
难易度:一般
日期:2015-04-22
来源:2015届山东省文登市高三第二次统考理科数学试卷(带解析)
【题文】(本小题满分12分)已知数列

是等比数列,首项

,公比

,其前

项和为

,且

,

,

成等差数列.
(1)求数列

的通项公式;
(2)若数列

满足

,

为数列

的前

项和,若

恒成立,求

的最大值.
题号:842640
题型:解答题
难易度:一般
日期:2015-04-22
来源:2015届山东省文登市高三第二次统考理科数学试卷(带解析)
【题文】(本小题满分12分)在

中,

所对的边分别

,

,

.
(1)求

;
(2)若

,求

.